城南二哥 第1890页
-
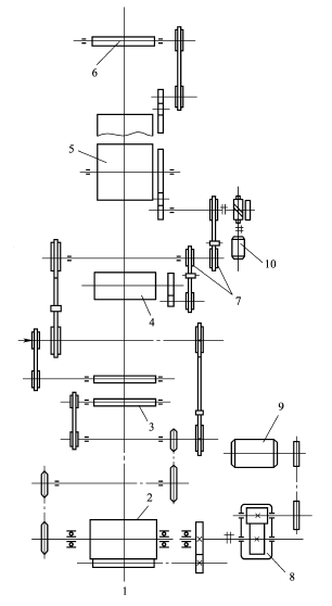
锯齿轧花理论 子棉卷的运动
轧花工艺要求轧净棉子上的长纤维,又不损伤纤维天然的物理性状。根据轧花机理可知,要达到这一要求,必须使棉子和长纤维受到不同方向的外力作用。锯齿轧花机的中箱为其创造了条件,中箱的几何形状可以使子棉形成卷体,利用锯片滚筒在中箱内的位置,使锯齿在勾拉子棉纤维的同时,对子棉卷产生作用力矩,使子棉卷做旋转运动。正因为子棉卷的转动,锯齿才能均衡、高效地勾拉纤维;同时轧净纤维的棉子才能顺利排落。由于子棉卷与锯片滚筒的转动速度、转动方向存在差异,特别是在轧花肋条排工作点处存在较大差异,轧花的力学条件才得以满足。 (一)子棉卷运动的...
-
短毛绒是什么材质?短毛绒的优缺点?
棉麻材质对于夏季来说是首选,许多人都很喜爱纯棉纺织而成的床上用品,但是因为纯棉自身的特性,所以并不具有很好的保暖性质,大家在冬天还是会更喜爱绒毛性质的面料,其中用的为多的就是短毛绒,那么短毛绒是什么材质?短毛绒的优缺点? 接下来跟大家科普一下短毛绒相关知识。短毛绒是什么材质 短毛绒的另一种叫法为水晶绒,是近些年才流行起来的一种新型面料,为什么会被称之为水晶绒呢,这是因为短毛绒使用的大多都是扁平的涤纶丝,所以会更加有光泽感,犹如水晶一般。短毛绒因为自身的特质被广泛用于做玩具、窗帘或者床上用品这些地方,一般不会用来作为...
-
滚筒印花机的运转与操作
11运转前的准备工作 (1)在车头压布辊位置的主传动一侧,应设置平面镜,使前车的挡车工能清晰地看清后车1~4色花筒处的情况,以免开车时发生事故。 (2)清除导布辊、紧布器、扩幅辊及烘筒表面上积存的纤维尘埃杂物等,清洁全机。 (3)调整橡胶衬布,使其张力适当。 (4)检查安全装置是否齐全,万向联轴器外的防护栏杆必须与起动电源相连接,在安全装置不齐全的情况下,严禁开车。 (5)检查传动齿轮箱、油箱内的油位是否正常,花筒轴承内是否有油,并进行全机加油。 (6)装花筒,接万向联轴器,装给浆盘、刮浆刀、除尘刀,并连接拉刀装...
-
俄罗斯毛皮服装粘贴电子标签成效显著
俄罗斯塔斯社1月18日报道,从2016年8月12日起,在欧亚经济联盟销售和进口到联盟关境的毛皮服装必须粘贴电子标签。此做法实施以来,俄罗斯毛皮服装进口申报数量大增。据俄海关统计,2017年俄罗斯共进口41.7万件毛皮服装,总价值2.32亿美元,比2016年分别增长51.8%和79.8%。缴纳海关税费6960万美元,同比增长79.8%。此外2017年俄罗斯共销售120万件毛皮服装,销售总额685亿卢布。俄罗斯毛皮服装粘贴电子标签成效显著AAA功能性面料网SDFWERTEYRHF...
-
印度新财政预算案公布临近 纺服业翘首以待利好消息
据统计,2017年4-12月印度出口纺织品服装261.3亿美元,同比小幅增加2%;但12月出口29.9亿美元,同比下降3%。12月印度进口纺织品1.65亿美元,较去年同期的1.37亿美元增加20.5%。 据印度纺织品工业联盟(CITI)统计数据,2017年7-11月印度自孟加拉国进口成衣1.113亿美元,较去年同期的6690万美元上涨66%。CITI主席SanjayJain表示,孟加拉国自中国免税进口布料,再加工生产成衣免税出口到印度,孟加拉国成衣生产成本已低于印度,占据市场优势。有相关消息称,2018/1...
-
巴基斯坦纺织业仍需坚持高附加值增长
据《商业记录报》1月23日报道,巴基斯坦央行近期发布《巴基斯坦经济(2018财年1季度)》报告,显示2018财年1季度纺织品出口增长7.9%,较上年同期6.3%的增速有所提高。报告指出,这一数字同前几个月统计局公布的数据基本一致,高附加值产品出口为总出口贡献40%增长。成衣、针织品成为纺织业出口龙头,1季度分别增长16%、9.5%。央行报告中将纺织出口复苏归因为传统出口市场如欧盟、美国消费增长,但报告同时指出,尽管在这些区域出口有所恢复,但在美欧纺织品市场份额仍偏低仅为3.55%,低于印度(7.23%)、越南(...
-
孟加拉国工会与成衣制造企业就安全生产达成和解协议
据《独立报》1月24日报道,孟加拉国工会与某国际品牌成衣制造企业就安全生产问题达成230万美元和解协议,媒体认为这具有里程碑意义,意味着跨国服装品牌如存在安全隐患将付出代价。2013年拉纳广场纺企发生重大坍塌事故,造成1135人死亡,是世界上严重的纺织工业灾难。孟加拉国工会与成衣制造企业达成和解协议AAA防紫外线面料网VBJYTUJGHNH...
-
无锡一棉埃塞项目奠基开工
1月16日无锡一棉(埃塞俄比亚)纺织有限公司项目开工典礼在埃塞俄比亚德雷达瓦国家工业园区隆重举行。 典礼仪式上,首先由无锡一棉集团董事长周晔珺女士介绍项目情况,随后高敏先生、泰德赛国务部长、费颂主席、易卜拉欣市长、谢明女士、刘峪参赞分别进行致辞祝贺。 江苏省纺织工业协会会长谢明女士在致辞中表示:无锡一棉(埃塞俄比亚)纺织有限公司项目是中埃纺织合作的又一成果。埃塞俄比亚作为东非经济引擎之一,近年来把纺织服装业作为重要的工业行业加以扶持。在这样的背景下,中国“一带一路”倡议可对接埃塞...
-
印度纺服出口遇困境 政府积极采取措施
外电消息,过去2个月印度棉价大幅上涨11%,推高纺企原料成本,棉纱出口竞争力被削弱。与此同时,国际棉价累计上涨17%,但印度卢比升值2.7%,抵消全球棉价上涨所带来的影响。 据统计,以美元计算,2017年12月印度棉纱和棉布的出口额同比增长0.38%至9.38亿美元,高于去年同期的9.35亿美元;人造纱线和纺织品的出口额同比增长6.77%至4.17亿美元,高于去年同期的3.9亿美元。 据了解,受其他大宗商品带动,印度棉价持续上涨,2017年11月至今印度棉价从之前的10517卢比/公担上涨至42000卢...
-
巴基斯坦棉花进口量将达万包
据巴基斯坦官方预测,受巴基斯坦棉花减产及取消棉花进口关税影响,预计2018年巴基斯坦棉花进口量将达到430万包、进口额约12.2亿美元。 近日巴基斯坦棉花进口商与印度、美国、巴西签订约300万包棉花进口协议,以满足国内用棉需求。由于巴基斯坦棉花采摘尚未结束,因此预计到2018年4月底巴基斯坦棉花收获量将累计达到1210万包,而纺织业棉花缺口将达到310万包。 据了解,巴基斯坦棉花进口主要来自印度,平均每年进口量约260万包、进口额约8.22亿美元,其次是美国、巴西。受巴基斯坦联邦税收委员会即将取消棉花进...












