城南二哥 第1886页
-
子棉的加湿与干燥 子棉水分与子棉加工质量的关系
从棉纤维的物理性能上讲,其强度和摩擦阻力随子棉水分的提高而增大,弹性和刚性随水分的增加而减小。因此,轧花厂轧花的步是使纤维处于一个合适的湿度水平。良好的湿度在轧花加工中对保证纤维质量,获得大的棉包价值有很重要的作用。 如果子棉水分过高(超过12%),不仅在储存中有发霉变色降低强力的危险,甚至会发热自燃,而且轧花加工也会出现机械不能正常运转、子棉清理不干净、加工出的棉花表面粗糙难看等问题,使轧花成本大大提高,影响其等级和市场价格。 子棉水分过高对子棉加工质量的影响如下: (1)湿度增大使纤维强度增加,导致纤维的基部与...
-
涤塔夫是什么面料?涤塔夫的优点和缺点?
涤塔夫(Polyester Taffeta)是一种将涤纶丝或者是仿真丝通过梭织的方式制成的一种薄款面料,同时也可以用作服装/箱包的里料,一些地方也称这种布为塔夫绸,在整个制作过程中涤塔夫会经过染色、轧花以及涂层等加工工序,又因价格便宜在市场上获得很大的竞争力,接下来就跟大家介绍一下涤塔夫这种面料的优缺点以及保养洗涤方式。涤塔夫的优点:因为涤塔夫的原料大多为涤纶长丝,因此它跟涤纶一样有着光亮的外观以及平滑的手感,涤塔夫织物耐洗耐用耐磨且具备良好的弹性,正常使用的话布料是不会出现起皱或者缩水的现象;不论是涤纶或者尼龙为...
-
河池海关助力茧丝绸企业拓展海外市场
记者从河池海关获悉,今年1—11月,河池市外贸进出口总值53.8亿元,同比增长49.4%,增速居全区第2位;其中出口17.3亿元,同比增长1.5倍,出口增速居全区第1位。 为帮助茧丝绸生产企业拓展海外市场,河池海关组织开展生丝出口相关政策解读,为辖区出口企业量身定制出口生丝“注册登记+远程影像辅助检疫”查验模式,对...
-
子棉的加湿与干燥 子棉加湿与干燥的原理
为了使子棉的水分达到适宜加工条件,凡子棉水分过低时,应适当加湿,而子棉水分过高时,则需进行干燥。根据我国的情况,除个别地区的子棉因水分过低而适当加湿外,大部分地区的子棉往往因水分过高,需要进行干燥。 1.子棉加湿与干燥的原理 空气的干湿程度称为湿度,湿度有绝对湿度与相对湿度之分。空气里所含水气的质量称为空气的绝对湿度,它是表示空气所含水蒸气量多少的指标。空气中水蒸气分压力与同一温度下饱和水蒸气分压力之比称为空气的相对湿度,它是表示空气干燥或潮湿的指标。当空气的绝对湿度不变时,提高空气的温度,可提高饱和水气量,降低相...
-
双丝光棉是什么面料?双丝光棉的优点和缺点?
双丝光棉是针对丝光棉来说的,丝光棉是以优质棉为原材料,经过一次丝光处理后即可制成,而双丝光棉会比丝光棉多一次丝光处理,因此在光泽等方面会更加突出,价格相对也会高一些, 本文将会跟大家介绍一下双丝光棉的优点和缺点。双丝光棉的优点:丝光棉因布面有着丝光般的光泽而得名,而经过两次处理的双丝光棉的光泽会更好,面料不仅保留了棉纤维柔软舒适以及保暖的诸多特性,在丝光处理后布料更具弹性和悬垂感,这也是这种面料受欢迎的原因。双丝光棉的缺点:双丝光棉布质轻薄且容易破损,所以在穿着的时候要避免强力拉伸或频繁摩擦,原则上是可以机洗但不建...
-
江阴市监公布2021年日用纺织品产品质量监督抽查检验结果
据江苏省江阴市人民政府网站12月17日消息,2021年三季度,江阴市市场监管局对涂料等四类产品开展了市级质量监督抽查,共抽查涂料、燃气用具连接用软管、日用纺织品、学生公寓床上用品、校服、军训服等四类产品。其中,2021年日用纺织品产品质量监督抽查检验结果汇总表如下:...
-
子棉的加湿与干燥 子棉干燥系统
子棉的干燥除利用太阳光晒干外,为了不受气候的影响和限制,节约劳动力,适应大生产的需要,一般采用专门的烘干设备将子棉烘干。 1.烘干的工艺过程 子棉烘干工艺过程如图7-1所示。 子棉由外吸棉气力输送装置输送,进入子棉自动控制箱,并由供料器(闭风阀)均匀地喂入子棉自动控制箱下部的热风管内。由空气加热系统送来的热空气在此与子棉混和,并将子棉送入烘干机。在烘干机内,子棉与热空气进行热交换,子棉中的水分充分蒸发并被热空气吸收。子棉随热空气离开烘干机后,被送入内吸棉分离器。内吸棉分离器将热空气与子棉分离,干燥的子棉即可进入下...
-
子棉的加湿与干燥 空气加热系统
1.换热器(也称热交换器) 换热器是使两种流体产生热交换的装置。当用蒸汽或有机热载体(HD系列导热油)作加热空气的热源时,需要换热器将热源产生的热能传导给干净的空气。 子棉烘干采用翅片式换热器。翅片式换热器由若干组无缝管和其上的金属片组成。无缝管呈“之”字形排列,每组可由单排管或多排管组成,固定在钢架上。在“之”字形的无缝管上规律地排列许多金属片,以增加传热面积。金属片有镶筋式和一次挤压成形式两种形式。金属片之间都保持一定的空隙。金属片的形式和金属片之间的隔距可根据需要选定。金属片密集排列,可增大传热面积,提高传...
-
广西十大生丝、十大蚕丝被品牌评选活动圆满落幕
为推动实施“商标品牌强桂战略”,擦亮广西区茧丝绸名片,激发丝绸企业创建品牌的热情,进一步促进、推动广西丝绸企业培育自主品牌,提升广西丝绸自主品牌的知名度和影响力,以品牌促效益,引导消费,线上线下融合,以市场为导向,以打造企业品牌为目的,积极营造良好的消费环境,促进生产和消费,扩大消费规模,有效...
-
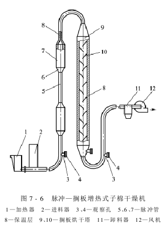
子棉的加湿与干燥 子棉烘干设备
子棉烘干设备类型较多,结构也各不相同,但采用的基本原理大都相同,都是以空气为介质,先将空气加热,以提高空气的温度并降低空气的相对湿度,然后将加热的空气送入子棉输送系统和烘干机内,使流动中的热空气与子棉接触,产生热交换,从而蒸发棉纤维中的水分,蒸发出来的水分由热空气吸收,达到烘干子棉的目的。 (一)国产烘设备 1.塔式烘棉机 塔式烘棉机是专门烘干子棉的设备,其规格随制造厂的不同而有所差别,一般宽度在1.22~1.83m,长度在1.83m左右,16~24层,每层高216~254mm,如图7-5所示。 子棉由专门的喂料...














