为了实现子棉量的自动控制和前后工序设备间的协调,如今的棉花加工工艺中不仅设置了子棉量控制设备,而且还通过电器元件,实现了设备之间的联锁控制。子棉量控制设备有通大气阀(也称子棉控制阀)、子棉自动控制箱(也称自动喂料控制箱、子棉控制器)、内储棉箱(也称内喂棉箱)、溢流棉仓(也称溢流箱)等。
1.通大气阀
通大气阀是子棉加工过程中经过的个子棉量控制设备,它安装在重杂物分离器之前的子棉输送管道上,其主要作用是接通或切断外吸棉,起到一个工艺开关的作用。
有两种控制通大气阀进风口挡板启闭的方式,一种采用汽缸控制,通常称为气动通大气阀,如图7-27所示;另一种采用电动推杆控制,通常称为电动通大气阀,如图7-28所示。

通大气阀的工作原理是:一个管网中各管段进风口的进风量与各管段的阻力成反比,即管段阻力越大,从该进风口进入的空气流量越小;反之,则空气流量越大。通大气阀的安装位置决定了吸棉管段的阻力比通大气阀进风口的阻力大数十倍,所以只要打开通大气阀的进风口挡板,管网中几乎所有气流都是从通大气阀进风口进入,吸棉口处空气流量近乎为零,子棉的输送工作立即停止。
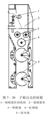
2.子棉自动控制箱
子棉自动控制箱起储存子棉、调节工艺中子棉流量的作用,其结构如图7-29所示,它主要由储棉箱体、1对喂棉辊、松棉辊、2个闭风阀组成。其主要工艺性能有以下几方面。

(1)储存一定量的子棉,保证外吸棉工作的连续性,提高轧花工艺设备的运转率。当子棉清理机、轧花机、皮清机、集棉机、打包机等任何设备出现故障时,外吸棉装置的各个设备可以继续工作,不必停机;当外吸棉装置的某个设备出现故障时,由于子棉自动控制箱内存有一定量子棉,轧花设备可以继续工作一段时间。如果故障被很快排除,则不影响成套设备的运转率,能极大地提高了整套工艺设备的工作效率。
(2)均匀、连续地为烘干机提供蓬松子棉,以防止烘干机堵塞,提高子棉烘干效率。
(3)根据子棉回潮率高低,调节子棉的供应量,确保烘干后的子棉回潮率符合轧花要求。
(4)在其后续工艺设备发生火情时,能将外吸棉管道内的子棉储存起来,切断子棉供应渠道,减少火灾损失。
3.内储棉箱
内储棉箱如图7-30所示,它主要由储棉箱体、1对喂棉辊、1个闭风阀三部分组成。储棉箱是由钢板围成的一个中空的长方体,用来储存子棉。内储棉箱只应用在正压配棉的工艺之中,它安装在子棉清理机的出棉口。内储棉箱的主要作用是: (1)储存一定量的子棉,保证配棉装置正常运行,提高设备工作效率。

(2)连续、均匀地为轧花机配棉箱提供子棉。
(3)在发生火灾险情时,阻断子棉进入后续管道及设备,避免发生火灾或减少火灾损失。
(4)在子棉不烘干的工艺中,当轧花机、集棉机、打包机等设备出现故障时,内储棉箱要承接来自通大气阀与子棉清理机之间管道及设备内的子棉,防止堵塞子棉清理机。
内储棉箱的工作过程:经过子棉清理机清理后的子棉被抛落在内储棉箱内,并由喂棉辊均匀喂入闭风阀的隔室内,再由闭风阀卸落到正压配棉管道内。当子棉清理机内的子棉着火时,可打开防火门,使带有火星的子棉卸出机外。
4.溢流棉仓
溢流棉仓应用在螺旋配棉工艺中,其主要作用是储存轧花配棉后多余的子棉,或当轧花机出现故障时,储存工艺管道中的子棉,其结构如图7-31所示。它主要由储棉箱体、喂棉辊、松棉辊、防火门等部分组成。溢流棉仓的结构与子棉自动控制箱很相似,其主要区别是:溢流棉仓的喂棉辊不是由喂棉电动机直接控制,而是通过过桥轮由松棉辊上的电动机一起带动;溢流棉仓内的子棉被松棉辊击松后,由气流吸往溢流子棉分离器,故不需要闭风阀喂棉;溢流棉仓设有防火门。
图7-32为美国拉姆斯公司配棉绞龙的溢流棉仓,其结构与工作原理与前述相同。
版权声明
本文仅代表作者观点,不代表本站立场。
发布的有些文章部分内容来源于互联网。如有侵权,请联系我们,我们会尽快删除。
- 上一篇: 春亚纺面料是什么?春亚纺有什么优缺点?
- 下一篇: 子棉管理 异性纤维的清理





发表评论