城南二哥 第2001页
-
张国良、刘曰兴等代表就提高产业竞争力建言献策
2022年新年伊始,地方层面已陆续进入“两会时间”。随着地方两会的召开,各地2021年的经济社会发展成绩单陆续出炉。此外,从经济目标到民生实事,各地如何规划新一年的发展蓝图,也是人们关注的焦点。同时,纺织服装业代表委员也纷纷发声,为地方“稳增长”建言献策。 江苏省人大代表张国良: 迅速扩大生产规模, 提升国产...
-
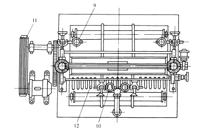
绳状水洗机——紧式绳洗机
绳状水洗机是专供绳状织物洗涤用的,也可用作绳状织物浸轧退浆剂、煮练剂、漂白剂等化学品溶液的设备使用。因此,它是组成绳状练漂联合机的重要单元机台。根据织物运行的张力情况,可将其分为紧式绳洗机和松式绳洗机两种。 一、紧式绳洗机 紧式绳洗机是将双头绳状织物处于经向拉紧状态下进行洗涤的。绳状织物分别从左右两端进入导布瓷圈,绕过轧槽的后、前两根导布辊,进入大轧辊轧点,并由分布棒按洗涤道数分开,继续回绕在导布辊与大轧辊上浸轧,一般要浸轧6~11道(即绳状织物回绕6~11圈),后双头绳状织物在大轧辊中部经喷洗后进入上轧液辊轧点...
-
绳状水洗机——松式绳洗机
松式绳洗机的主要特点是单头绳状织物在松弛状态下进行浸渍轧洗,它适宜于不能承受太大张力的绳状织物的洗涤,例如印花衬布或针织物等。 由于绳状织物在洗液中松弛浸渍,有助于污物向洗液中扩散,但车速却受到设备结构的限制,不能太快,一般只在50~80m/min,以免多道回绕的绳状织物在洗液中发生纠缠打结,造成织物拉断或损伤,影响正常生产。 松式绳洗机如图4-2所示。它常以3~5台组成一组,织物成环状导入槽内,先后通过3~5槽,依次在槽内浸渍并在两轧辊间进行轧洗,后经小轧车轧液后出布。 轧槽一般用铸铁制成,上口是敞开的,槽底为...
-
新疆:土地租金上涨 棉农暂未确定种植意向
随着春节假期日益临近,各行各业都进入了收官阶段,新疆大部分企业棉花收购、加工均已结束,人员进入返乡阶段。 新疆当地某棉农表示,虽然去年收入提高,但目前感觉迷茫,主要由于新年度土地费用大幅提高,导致植棉风险也提高。去年该棉农土地租金成本1000元以下/亩,但目前北疆土地费用在1300-1500元/亩,部分地价更高。该棉...
-
平幅水洗机——普通平幅水洗机
平幅水洗机简称平洗机,供平幅织物洗涤用,是平幅织物练漂、丝光、染色、印花及树脂整理等加工设备的主要单元机械之一。此外,还可应用平洗机浸轧化学药剂,以使织物达到漂白、提高染色牢度、增加花色鲜艳度、增加柔软手感等目的。 平洗机根据加工织物的幅度,可将其工作幅度分成1100mm、1200mm、1400mm、1600mm、2800mm五种规格;按加工织物的层数,可分为单层、双层、双幅三种;根据织物运行时的张力状态,可分为紧式、松式两种;根据织物的洗涤效率可分为普通平洗机和高效平洗机,两者的车速一般均为40~70m/min...
-
平幅水洗机——松式平洗机
由于丝织物、针织物及某些仿毛、仿丝的化纤及其混纺织物的外观、手感、风格等要求,它们的染整加工宜在无张力状态下进行。因此,近年来松式平洗机有较大发展,目前常用的型号有S220—180型松式平幅水洗机和松式转轮平幅洗布机等。 图4-7所示为松式六角辊式平洗机,适用于中长化纤织物加工过程中的前后处理,如退浆、煮练、染色及整理后的松式水洗,也可用作纯棉或化纤织物的松式水洗或松式染色。 全机由多格蒸洗箱组成。进出布处都设有水封,可使蒸洗温度有所提高。各格蒸洗箱单独传动,并有单独洗槽,便于更换洗液。蒸洗箱用不锈钢板制成,其结...
-
2022年全国纺织产业集群试点复查工作专题会议在京举办
1月25日,中国纺织工业联合会2022年全国纺织产业集群试点复查工作专题会议在北京举行。中国纺织工业联合会副会长、中国纺联产业集群工作委员会主任夏令敏,中国纺联产业集群工作委员会副主任谢青、邢冠蕾、徐建华,秘书长张海燕,副秘书长朱国学等领导,以及各部门、各专业协会的相关领导、产业集群工作负责人参加了本次会议。会议上,与会...














