城南二哥 第1917页
-
2021全球时尚城市指数发布 深圳稳居全球时尚之都前六
深圳连续五次跻身全球六大时尚之都! 这是2021年12月28日举办的第七届中国(深圳)国际时装节开幕式上传来的消息,全球时尚城市指数第五次在深圳发布,该指数由深圳市时装设计师协会联合中国纺织服装教育学会、深圳市欧纺服装研究院等多家机构联合研制。 全球时尚版图重写中国全面迈向“时尚第三极” 全球时尚城市指...
-
锯齿轧花理论 棉子的排出
有一种理论很注重工作箱内棉子的排出,认为要提高锯齿轧花机的生产率,首先应减少棉子在工作箱内的逗留时间。另外,一定要增加喂花量及棉子的排出量,以保持高产下的平衡。 如图8-22所示,单粒子棉上的纤维是逐渐轧脱的;当单粒子棉初次接触锯齿时,由于棉子上带有大量的纤维,故能被锯齿勾住的纤维相对较多。随着轧剥次数的增加,棉子上的长纤维越来越少,单粒子棉能被锯齿勾住的纤维也越来越少,即单粒子棉的轧剥机会越来越少。此外,单粒子棉的轧剥进度与其在工作箱内的逗留时间的曲线以横坐标为渐近线,即单粒子棉在工作箱内逗留时间无限长时,其上...
-
锯齿轧花理论 杂质的排落和刷棉
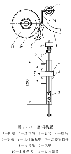
国家标准《棉花细绒棉》(GB1103—1999)规定不孕子含棉率为20%~30%。而锯齿棉的轧工质量与后箱的排杂效果有很大关系。后箱排出的杂质按排杂部位的不同,又可分为上排杂和下排杂。 (一)上排杂 从轧花肋条工作点到上排杂刀口(或前挡风板口)这一锯片弧长区域称为上排杂区域。上排杂包括上排杂区域内排出的杂质和上排杂刀口处排出的杂质。 当锯齿勾住纤维离开子棉卷进入轧花肋条排工作点间隙时,因失去了子棉卷对它的压力作用及外界空气的透入,使齿凹内的纤维不再紧紧地嵌在齿间而成为漂浮状态,即形成浮棉层,使杂质挣脱了纤维的缠绕...
-
乐至县培训蚕桑冬春田间管理技术
12月23日,四川省丝绸科学研究院和四川红旗丝绸有限公司深化“院企”合作,助力乐至中国桑都建设,深入回澜镇土桥社区、花祠堂村举办桑园冬春田间管理技术培训,惠及当地蚕农100余户。四川省丝绸科学研究院副院长郑丹,乐至县经科信局副局长秦健到会指导。 培训会上,秦健致辞指出,通过科技特派员专家培训和院企合作,实现一个目的...
-
高圆圆同款《完美伴侣》职场穿搭
高圆圆的复出剧《完美伴侣》已经播完了,在剧中她变身40岁的“硬核”女强人,工作穿搭得体大方,是日常穿搭的优秀范本。 灰西服设计方案别具一格,腰部的阴茎系带尤其突显腹部线框,显得干净利索精美。米色的西装套装也十分干净利索,双排扣设计方案,让西服不那麼简单,很有设计感。 在职场穿白色衬衫始终不容易错误,大V领的白色衬衫庄重知性优雅,又不容易显得太呆板,庄重知性优雅以外又添一些设计感。...
-
“一脚蹬”懒人出门必穿的鞋子在这里
春天的脚步越来越近,姐妹们也开始脱下各种厚重的靴子,选择更轻便的款式。 单鞋是上班的佳装备,也可以是日常造型的百搭之选,乐福鞋绝对是懒人福音。乐福鞋的英文原词 是“Loafer”,“Loaf”一词的本意指的是一种闲散的生活方式,而Loafer就代表着一群拥有这种闲适自在的生活态度的人。 不知道穿啥鞋的时候,选乐福鞋准没错!乐福鞋搭配西装裤、牛仔裤、半身裙或者连衣裙完全没有问题。真是懒人福音啊。 没有穿过的姐妹,双乐福鞋可以选择黑色的,黑色乐福鞋什么年龄都能穿。想要更有时髦...
-
锯齿轧花理论 杂质的排落和刷棉
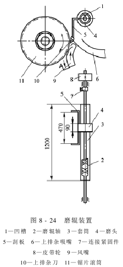
国家标准《棉花细绒棉》(GB1103—1999)规定不孕子含棉率为20%~30%。而锯齿棉的轧工质量与后箱的排杂效果有很大关系。后箱排出的杂质按排杂部位的不同,又可分为上排杂和下排杂。 (一)上排杂 从轧花肋条工作点到上排杂刀口(或前挡风板口)这一锯片弧长区域称为上排杂区域。上排杂包括上排杂区域内排出的杂质和上排杂刀口处排出的杂质。 当锯齿勾住纤维离开子棉卷进入轧花肋条排工作点间隙时,因失去了子棉卷对它的压力作用及外界空气的透入,使齿凹内的纤维不再紧紧地嵌在齿间而成为漂浮状态,即形成浮棉层,使杂质挣脱了纤维的缠绕...
-
蚕桑专家调研指导白河蚕桑产业发展
12月24日,陕西省安康市蚕桑产业发展中心主任张京国,安康市蚕桑研究所所长陈正余等一行,前往白河调研指导蚕桑产业发展情况。 专家组先后深入中厂镇大坪蚕桑开发有限公司、冷水镇隆康农林专业合作社等种桑养蚕基地实地调研,在田间地头,专家组认真察看桑园长势及冬季桑园管理情况,并对新建桑园进行现场技术指导。 专家组指出...
-
锯齿机轧花的故障及处理 锯齿机轧花产量质量的控制
影响锯齿轧花机产量、质量的因素是多方面的,而且这些因素之间互相牵制、互相影响。从生产实际看,子棉的性状(成熟度、含水量、含杂量)、设备部件及装配、工艺及操作技术等是影响产量、质量的主要因素。因此,要提高轧工质量,必须控制子棉具有适宜的含水率;尽量清除原生杂质,控制并排除新生疵点和杂质;加强轧花设备的合理使用和维修保养;保持机构良好的工作状态;合理安排工艺,掌握正确的操作方法。只有这样,才能实现优质高产。 (一)子棉的含水率 轧花时,必须控制子棉的含水率,一般要求子棉含水率在8%左右。考虑到我国棉花含水率的实际情况,...
-
锯齿机轧花的故障及处理 锯齿轧花工艺的常见故障及处理
锯齿轧花工艺的常见故障可分为生产性故障和机械性故障两类。生产性故障指影响产量和质量的故障,机械性故障是妨碍机器正常运转的故障。锯齿轧花机常见故障的原因及处理方法见表8-7。 AAAfefgehfjgffjhggjgjyuy...











